全球首个!针对疼痛,礼来启动 GLP-1 三靶点药物 III 期临床
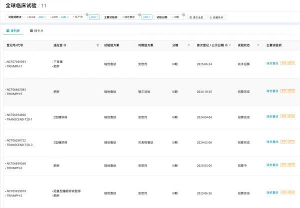
当地时间 6 月 24 日,礼来在 ClinicalTrials.gov 网站上登记了一项评估瑞他鲁肽(Retatrutide、LY3437943)在肥胖或超重伴慢性腰痛患者中疗效和安全性的 III 期临床研究(TRIUMPH-7,登记号:NCT07035093)。
Insight 数据库显示,这是全球首个开展的 GLP-1 相关药物用于疼痛的 III 期临床。

TRIUMPH-7 是一项随机、双盲、安慰剂对照的 III 期临床研究,旨在评估每周一次 Retatrutide 治疗肥胖或超重伴有慢性腰痛患者的疗效和安全性,为期 80 周,计划在 2025 年 6 月 开始,2027 年 9 月 完成。
该研究预计入组 586 名受试者,随机分组接受 Retatrutide 和安慰剂治疗。主要终点是疼痛强度与基线相比的变化、体重相对于基线的百分比变化。次要终点包括疼痛强度降低的参与者人数、体重减轻的参与者人数等。
Retatrutide 是一款 GLP1R/GIPR/GCGR 三激动剂,是全球进展最快的。目前正在开展肥胖、2 型糖尿病、心血管事件二级预防、阻塞型睡眠呼吸暂停等适应症的 III 期临床。

Insight 数据库显示,国内在研的同类产品有 17 款,ZX2021(中新医药)、UBT251(联邦制药/诺和诺德)、MWN101(民为生物)均已推进至 II 期临床。
本文首发于丁香园旗下 Insight 数据库
编辑:月牙
相关知识
国内首款司美格鲁肽生物类似药启动临床 来自九源基因
礼来降糖药国内获批,GLP
全球首个口服司美格鲁肽在华获批,GLP
信达生物披露最新临床研究数据,首个国产双靶点减肥药玛仕度肽迎新进展
降糖减重明星药——GLP
“一药定江山” 仁会生物贝那鲁肽启动肥胖适应症III期临床试验
“一药定江山” 仁会生物贝那鲁肽启动肥胖适应症III期临床试验
礼来、诺和诺德之后,下一代减肥药谁主沉浮?
礼来与诺和诺德神仙打架,减肥药赛道再起硝烟?
全球医药一哥礼来与来凯医药(02105)合作,掀起医药新主升浪
网址: 全球首个!针对疼痛,礼来启动 GLP-1 三靶点药物 III 期临床 https://www.trfsz.com/newsview1461967.html
推荐资讯
- 1发朋友圈对老公彻底失望的心情 12775
- 2BMI体重指数计算公式是什么 11235
- 3补肾吃什么 补肾最佳食物推荐 11199
- 4性生活姿势有哪些 盘点夫妻性 10428
- 5BMI正常值范围一般是多少? 10137
- 6在线基础代谢率(BMR)计算 9652
- 7一边做饭一边躁狂怎么办 9138
- 8从出汗看健康 出汗透露你的健 9063
- 9早上怎么喝水最健康? 8613
- 10五大原因危害女性健康 如何保 7828
