射频能量的感应加热技术与设计解决方案
虽然当我们想到RF时,我们大多数人都想起了无线电,数据链和通信的图像,但是有一整套RF设计工程师的亚文化,他们的工作与通信无关。相反,这些工程师使用RF来加热,焊接和密封金属物体。我们可能熟悉的一个例子是感应炉顶,加热金属锅和平底锅,同时表面保持凉爽。
电磁感应使用由RF驱动的感应线圈,该感应线圈通过靠近RF场的金属中感应的涡流产生电阻加热效应。被称为感受器的金属吸收这种热量,并可将其热传导到更大的区域或体积(用于加热液体等应用),或者非常有效地熔化,熔化或焊接。没有爆炸性气体,烟雾或化学品,这使得该工艺成为工厂和自动化机械生产线的理想选择。
图1:使用15千瓦的450千伏射频能量,可以使25毫米金属棒发热。
不仅仅是用于烹饪
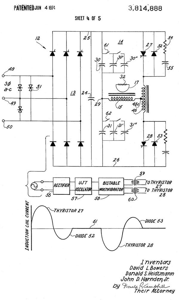
几十年来,感应加热一直被用于用于密封和包装金属容器的工厂地板。早期的专利图显示了相对较少的组件如何实现有效的解决方案(图2)。相比较而言,最近才在中低成本的烹饪表面上提供用于烹饪的感应加热。但是,我们都使用过感应热封的产品。我们都熟悉食品罐,需要开瓶器来打破真空密封。如果仔细观察这些罐子的顶部,你会看到盖子被焊接到罐子上;专用机器使用由高功率RF驱动的专门设计的感应加热器,可快速,可靠,重复地将盖子熔接到罐头上。

图2:这个早期的专利图显示了制造感应焊接和加热系统所需的部件相对较少。设计中最苛刻的部分是RF传输线圈的组成和尺寸。
人们甚至可以找到简单,免费和公共领域的DIY设计,供教育和爱好者使用。有文件记录的设计(图3,右)的简化示意图(图3,左)显示了一个相对安全的陶瓷保护的现场加热器,您可以构建 1 。

图3:在线提供教育套件和原理图,可以帮助您开始使用自己的感应加热设计。有文件记录的设计(右)的简化示意图(左)显示了一个相对安全的陶瓷保护现场加热器,您可以构建。
感应加热不仅适用于金属焊接。它还可用于通过退火硬化或强化金属或将气体加热到等离子体中,用于高级化学反应和研究。在所有情况下,都需要高功率RF场,这些设计包括专用的分立元件和有源元件。即使连接器也必须仔细检查,以确保它们能够通过能量,而不是吸收能量。
设计用于感应加热的高功率射频
用于射频感应加热的基本有源和无源元件需要能够处理大量功率,并且必须进行散热以实现导热表面。也可能需要液体冷却,这意味着即使是部件的外壳和主体也可能需要高度导热。例如,即使通过0.01欧姆电阻,短暂的1000 A电流突发也需要在电流流动时消耗10,000 W的功率。
AVX,Bourns和TE Connectivity等几家合适的电阻器制造商提供相当好的高功率和良好散热的电阻器。这些通常用于机箱安装配置,以允许散热和传输。
例如,看看Bourns 50欧姆底盘安装CHF190104CBF500L 800 W电阻(图4)。五十欧姆是射频匹配和高效功率传输和使用的神奇甜蜜点,传输线和天线主要用于匹配高达50欧姆的阻抗。
图4:用于800 W设计的50欧姆底盘安装电阻可实现RF传输线特性的最大功率传输。
作为供应商CHF射频功率系列的一部分,它具有0至1 GHz的工作特性,具有极低的(1.2)电压驻波比(VSWR),可最大限度地减少反射信号和不必要的加热。
其他值如12.5,25和100欧姆可供选择。请注意所选值如何串联和并联以在分配热量时创建更高的功率水平。也可提供1000 W版本的Bourns CHF190104KBF500L
高功率RF电容器不像电阻器,晶体管和电感器那样常见,特别是在RF感应技术方面。在大多数情况下,可能需要专门为设计制作串联和并联阵列。
这里重要的是保持等效串联电阻和等效串联电感低。由于潜在的高电流,IIR加热是一个问题,甚至相当高温的陶瓷电容器也会迅速降级。
您不希望在这些应用中使用电解电容或钽电容。两种类型都不喜欢过度应力,并且在灾难性故障期间实际上可能会剧烈爆炸。即使电压不高,也最好使用高压版本的陶瓷电容器。通过感应负载,可以在紧密间隔的陶瓷电容器上产生非常高水平的尖峰和浪涌。较旧的高压聚酯薄膜电容器和聚苯乙烯可以提供良好的老化特性和严格的公差,并且可以帮助消除电弧放电,因为这些技术比表面贴装陶瓷更大。
进行连接
在设计用于加热金属的高功率RF链路时,连接器至关重要。毕竟,连接器使用金属,给我们带来了一个难题:金属是一个很好的屏蔽,而BNC,F型,MCX,SMA等射频连接器使用金属外壳作为阻抗控制的一部分,具有屏蔽功能。
然而,这些相对小尺寸的连接器没有太多的整体表面积,散热也是一个问题。这意味着当需要高功率链路时,小型和低成本的连接器是不合适的。
进行工程设计后,您可以制作具有正确成分,形状和密度的固体,以实现有效耦合。对于中功率,前期放大阶段,较旧的和较大的RF连接器(例如较旧的UHF和N型)可能是最佳的。
Cinch 26-8011等底盘安装部件具有大量的热质量,可与坚固的底盘和/或散热器实现良好的热连接(图5)。它们的特点是50欧姆,并使用可靠的螺钉触点而不是摩擦相关的互锁。这可以使它们在存在振动和冲击时更安全。
图5:具有大量热量的阻抗控制RF连接器可有效地将热量传递到机箱或散热器,对于中等功率非常有用水平。最终功率放大后,非常高功率的最终阶段可能需要定制解决方案。
例如,用于RG-8,213,58和59的配合电缆,也使用具有大量热质量的公插头。对于高达500 MHz的大多数应用,黄铜和镍涂层应该足够了。
功率晶体管
很少有管设计正在进行,并且随着高压大功率半导体技术的蓬勃发展,许多优秀的半导体器件已经准备好处理相当大量的RF功率。
虽然在大多数情况下频率不会那么高,但电流承载能力和电压可能会很高。在大多数情况下,FET技术是最好的,因为它可以携带非常低的RDS(on)规格,同时做好切换工作。必须注意保护FET免受过应力,因为栅极处的薄氧化层会破裂。
像NXP BLF578,112这样的部件在这里是不错的选择(图6)。该LDMOS RF FET可在高达108 MHz的频率下处理高达88 A的电流,并可实现1,000 W的输出电平。请注意陶瓷包装具有大的热容量和散热器。另外还有BLF178P,112,双版本配置为半桥。
图6:所有高功率组件可能都需要散热和散热,但要小心:如果外壳和散热支架没有电气隔离,它们可能有不同的电压并且不能安装到普通导体上。
评估您的需求
最终,您需要焊接或退火的材料类型将决定满足您需求的最佳频率选择(或频率组合)。更重要的是,您需要加热或焊接的体积和横截面积将决定您需要的功率水平。
除了烹饪和焊接外,该技术的使用要求也较低。例如,金属编织可以用在TFT显示器中,以允许精确和有效的加热控制,允许显示器在-50℃下操作。与往常一样,了解RF技术的功能以及您需要为这些应用程序和其他应用程序实现的部分是成功的一半。
声明:本文内容及配图由入驻作者撰写或者入驻合作网站授权转载。文章观点仅代表作者本人,不代表电子发烧友网立场。文章及其配图仅供工程师学习之用,如有内容侵权或者其他违规问题,请联系本站处理。 举报投诉
相关知识
高频感应加热设备作业环境电磁辐射防护技术研究
高频加热设备 高频感应加热原理 技术及应用
高频感应加热机处理设备的安全技术.docx
高频机与感应加热技术
智能设备设计概念与解决方案全面解析
射频加热技术在粮食储藏与加工中应用研究进展
高频感应加热设备的发展与应用介绍
高频感应加热机设备
高频机的高频及感应加热技术
高频机与感应加热技术的优点和缺点
网址: 射频能量的感应加热技术与设计解决方案 https://www.trfsz.com/newsview1357182.html
推荐资讯
- 1发朋友圈对老公彻底失望的心情 12775
- 2BMI体重指数计算公式是什么 11235
- 3补肾吃什么 补肾最佳食物推荐 11199
- 4性生活姿势有哪些 盘点夫妻性 10428
- 5BMI正常值范围一般是多少? 10137
- 6在线基础代谢率(BMR)计算 9652
- 7一边做饭一边躁狂怎么办 9138
- 8从出汗看健康 出汗透露你的健 9063
- 9早上怎么喝水最健康? 8613
- 10五大原因危害女性健康 如何保 7828
